Клемма строительно-монтажная 5 х 4 кв.мм СМК 222-415 IEK с рычажком, серый
Строительно-монтажные клеммы СМК предназначены для соединения алюминиевых и медных проводников сечением до 4 кв.мм без использования инструмента в электрических сетях переменного и постоянного тока.
Клеммы допускают многократное (не менее 5 раз) присоединение и отсоединение проводников.
Соответствуют требованиям ГОСТ Р 31602.1, ГОСТ Р 30011.7.1.
Преимущества
- Низкий перегрев при пропускании номинальных токов.
- Возможность соединения / ответвления комбинаций алюминиевых и медных проводников.
- Улучшенная токовая проводимость зажимов за счет увеличения объема используемого металла.
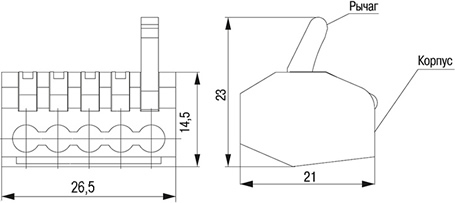
Размеры

Материалы и цвета
| Цвет корпуса | Серый |
| Материал корпуса | самозатухающий пластик |
| Материал контактной части | луженая латунь |
Технические характеристики
| Типоисполнение клеммы | СМК 222-415 |
| Количество подключаемых проводников | 5 |
| Номинальное напряжение переменного тока Ue, не более, В | 400 |
| Номинальное напряжение постоянного тока Ue, не более, В | 220 |
| Номинальное напряжение переменного тока по изоляции Ui, не более, В | 660 |
| Номинальный рабочий ток Ie, А | 32 |
| Тип электрического соединения | фиксатор / защелка |
| Место соединения | сбоку (поперечное) |
| Номинальная соединительная способность, кв.мм | 0,08 - 4 |
| Тип и сечение присоединяемых проводников, кв.мм | 0,08 - 2,5 (одножильный медный жесткий) |
| Тип и сечение присоединяемых проводников, кв.мм | 0,08 - 4,0 (многожильный медный жесткий / гибкий) |
| Группа механического исполнения | М3 (ГОСТ 17516.1) |
| Рабочая температура, °C | -25... +85 |
| Относительная влажность воздуха, не более, % | 90 (при t +20 °C) |
| Степень защиты от пыли и влаги | IP20 |
| Климатическое исполнение и категория размещения | УХЛ3 |
| Срок службы, лет | 10 |
Инструкция ио применению
Монтаж соединения
- Концы проводников, подлежащие соединению с помощью клеммы, освобождают от изоляции на длине 10 мм.
Длина съема изоляции соответствует длине выемки на нижней части корпуса. - Перевести соответствующий рычаг клеммы в верхнее положение.
- Вставить проводник до упора в соответствующее гнездо клеммы.
- Перевести рычаг в нижнее положение.
Демонтаж соединения
- Перевести соответствующий рычаг в верхнее положение.
- Вынуть проводник из соответствующего гнезда клеммы.
- Перевести рычаг в нижнее положение.
Измерение напряжения на клемме
- Для измерения напряжения (потенциала), присутствующего на клемме, используется гнездо, расположенное на верхней части корпуса и обозначенное надписью Test.
Преимущества
- Доставка по всей России
- Более 200 000 товаров в ассортименте
- Профессиональная консультация
- Кабель БЕЗ опасности
- Качество по ГОСТу
|
Бренд
|
IEK |
|
СрокГарантии, мес
|
36 |
|
Количество зажимов
|
5 |
|
Номинальное напряжение, В
|
450 |
|
Номинальный ток, А
|
32 |
|
С рычажком
|
Да |
|
Сечение подключаемого провода, мм2
|
4 |
-
Зайдите на страницу товара и нажмите на кнопку «В корзину».
Далее можно продолжить покупки или перейти к оформлению заказа.
-
Перейдите в Корзину и нажмите «Перейти к оформлению».
Можно авторизоваться или оформить заказ без регистрации. Зарегистрированные пользователи могут:
- Отслеживать статус заказа
- Получать спецпредложения и промокоды на дополнительные скидки
- Укажите Ваши контакты: ФИО, телефон и e-mail.
- Выберите способ получения заказа (доставка или пункт самовывоза) и способ оплаты.
- Далее «Оформить заказ».
Готово: ваш заказ создан! По электронной почте или в личном кабинете Вы можете отслеживать статус заказа.
Теперь останется только ждать доставки и радоваться новой покупке!
Оплачивайте покупки удобным способом.
В нашем интернет-магазине доступно 3 варианта оплаты:
- Оплата наличными или картой при самовывозе в пункте выдачи заказов/магазине.
- Онлайн-оплата на сайте при оформлении заказа. Для совершения покупки система перенаправит вас на страницу платежного сервиса. Здесь необходимо заполнить форму по инструкции.
- Оплата по счету для юридических лиц. Оплата происходит после предоставления реквизитов для выставления счета. Покупатель получает счет на указанный e-mail.
Доступно 3 варианта доставки:
- Самовывоз из магазина. Список торговых точек для выбора появится в корзине. Для получения заказа обратитесь к сотруднику в кассовой зоне и назовите номер заказа.
- Доставка транспортной компанией СДЭК или Почтой РФ в отделение или постамат.
По всем возникающим вопросам можете позвонить нам на горячую линию:
Ежедневно с 8:00 до 20:00 по МСК
E-mail: help@kristall43.ru
Адрес: 610000, г. Киров, ул. Щорса, 68г, кабинет 3